
2024년 하반기, 서울시는 청년들의 주거비 부담을 줄이기 위한 청년 부동산 중개보수 및 이사비 지원 사업을 시행합니다. 이번 사업은 경제적 어려움을 겪는 청년들이 이사 과정에서 발생하는 비용을 덜 수 있도록 실질적인 도움을 주기 위한 제도로, 주거비용의 큰 부분을 차지하는 부동산 중개보수와 이사비용을 지원합니다.
이 글에서는 지원 대상, 신청 방법, 선정 기준 등 핵심 정보를 상세하게 안내해 드립니다.
청년 부동산 중개보수 및 이사비 지원 사업

1. 지원 대상
2024 하반기 청년 부동산 중개보수 및 이사비 지원 사업의 지원 대상은 서울시에 거주하는 만 19세에서 39세의 청년가구로, 2022년 1월 1일 이후 서울시로 전입하거나 서울시 내에서 이사 후 전입신고를 완료한 경우에 한해 신청할 수 있습니다.
- 연령 및 전입 기준: 만 19세 ~ 39세 청년으로, 2022년 1월 1일 이후 서울시에 전입한 자 또는 서울시 내에서 이사 후 전입신고를 완료한 자.
- 세대주 및 임차인 요건: 신청자는 반드시 세대주이며, 임대차계약서 상 임차인이어야 합니다.
이 조건을 충족하는 청년들은 이사 과정에서 발생한 부동산 중개보수 또는 이사비용을 최대 40만원까지 지원받을 수 있습니다. 특히, 생애 1회 지원이므로 이번 기회를 놓치지 않는 것이 중요합니다.
2. 지원 규모 및 내용

이번 사업을 통해 총 4,000명의 청년에게 지원금이 제공되며, 각각 최대 40만원 한도 내에서 실비 지원이 가능합니다. 청년들은 부동산 중개보수와 이사비용 중 하나만 선택해 신청할 수도 있으며, 두 항목을 함께 신청하는 것도 가능합니다.
- 지원 항목: 부동산 중개보수 및 이사비용
- 지원 금액: 최대 40만원 (생애 1회)
- 총 지원 인원: 4,000명
이사는 직장, 학업 등 다양한 이유로 자주 발생하지만, 그에 따른 비용은 청년들에게 큰 부담이 될 수 있습니다. 이번 사업은 그런 부담을 덜어주기 위해 기획되었습니다.
3. 신청 기간 및 방법
- 신청 기간: 2024년 8월 13일(화) 10:00 ~ 8월 30일(금) 18:00
- 신청 방법: 서울시 청년 관련 정보가 제공되는 청년몽땅정보통 온라인을 통해 신청할 수 있습니다.
신청이 완료되면 사회적 약자 및 주거 취약 청년을 우선적으로 선발한 후, 소득 수준이 낮은 순서대로 선정됩니다. 이를 통해 더 많은 도움이 필요한 청년들이 혜택을 받을 수 있도록 설계되었습니다.
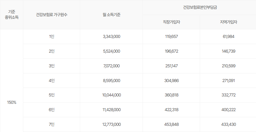
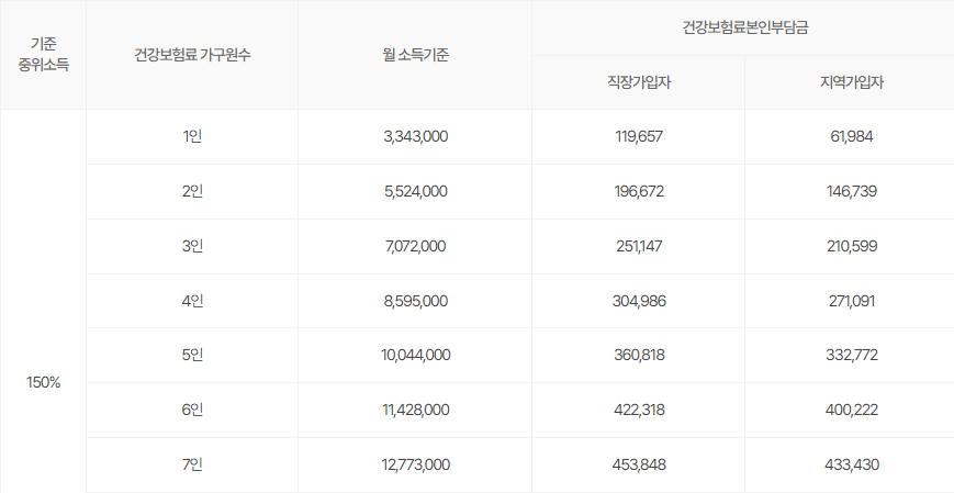
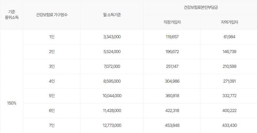
4. 선정 기준
선정 기준은 주거 환경이 취약한 청년과 사회적 약자를 우선 선발하며, 이후에는 신청자들의 소득 수준에 따라 선정이 이루어집니다.
다음 표는 선정 기준의 우선순위를 설명합니다.
이렇게 구체적인 선정 기준을 통해, 더 큰 도움이 필요한 청년들이 우선적으로 지원받을 수 있습니다.
5. 제출 서류
신청을 위해서는 다음 서류를 준비해야 합니다.
- 주민등록등본: 최근 3개월 이내 발급된 것
- 가족관계증명서: 신청자의 가족 관계 확인을 위한 서류
- 임대차계약서 사본: 임차인 여부를 확인하기 위한 서류
- 지출 증빙 서류: 중개보수 또는 이사비용에 대한 영수증 등
- 통장 사본: 지원금 입금을 위한 계좌 확인
모든 서류는 정확하게 준비해야 하며, 제출 서류가 불충분할 경우 선정에서 제외될 수 있습니다.
6. 지급 방법
지원금은 신청이 완료되고 선정된 청년들의 개인 계좌로 입금됩니다. 지급 방식은 개인별 계좌 입금이며, 신청 후 결과 발표 시까지 기다리시면 됩니다.
- 지급 방법: 개인별 계좌 입금
- 지급 시기: 선정 완료 후 순차 지급
이러한 간편한 지급 절차를 통해 청년들이 불편함 없이 지원금을 받을 수 있도록 하고 있습니다.
7. 문의처
더 궁금한 사항이 있거나 신청 과정에서 어려움을 겪는 경우, 청년 이사비 지원 콜센터를 통해 도움을 받을 수 있습니다. 콜센터에서는 신청부터 서류 준비까지 상세하게 안내해 주므로, 불필요한 실수를 줄일 수 있습니다.
- 문의처: 청년 이사비 지원 콜센터 (1877-9358)
결론
2024 하반기 청년 부동산 중개보수 및 이사비 지원 사업은 이사와 주거지 이동이 빈번한 청년들에게 큰 경제적 혜택을 제공하는 중요한 기회입니다. 최대 40만원의 실비 지원을 통해 부담을 덜고, 더 나은 주거 환경으로 이동할 수 있는 기회를 놓치지 마세요. 이번 사업은 생애 1회만 신청할 수 있으므로, 조건에 해당된다면 신청 기간 내에 꼭 신청해보세요!
이번 기회를 통해 서울시 청년들이 더 안정적이고 편리한 주거 생활을 할 수 있기를 바랍니다.
경기도 청년 이사비 및 중개보수비 지원 신청 방법과 혜택 총정리 - 박팀장웹마스터
경기도 청년을 대상으로 한 주거 지원 사업이 2024년에 새롭게 시작되었습니다. 경기도 청년 이사비 및 중개보수비 지원 사업은 이사와 주택 임대 계약 시 발생하는 비용을 지원하여 청년들의 주
websmart.co.kr
